50ZW15-30耐腐蝕自吸排污泵 |
||||||||||||||||||||||||||||||||||||||||||||||||||||||||||||||||||||||||||||||||||||||||||||||||||||||||||||||||||||||||||||||||||||||||||||||||||||||||||||
|
|
||||||||||||||||||||||||||||||||||||||||||||||||||||||||||||||||||||||||||||||||||||||||||||||||||||||||||||||||||||||||||||||||||||||||||||||||||||||||||||
![]()
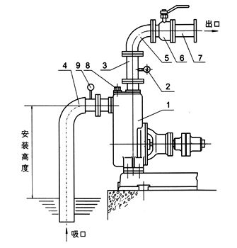
產品介紹 50ZW15-30耐腐蝕自吸排污泵設計先進、運轉平穩、結構緊湊、應用廣泛。歡迎選用ZW系列自吸式渦流不堵塞排污泵,定能使您達到滿意的效果。 特 點 50ZW15-30耐腐蝕自吸排污泵又稱固液泵或雜質泵。該系列泵水力設計獨特,葉輪是縮在單獨的葉輪室內,連接葉輪室的是壓水室,當葉輪旋轉時,泵內液體產生強烈的軸向渦流作用,使進口造成真空,出口產生揚程。因而雜質可以從壓水室排出,所以它的流道是完全暢通的,其排污效果是其他自吸式排污泵無可比擬的。 50ZW15-30耐腐蝕自吸排污泵即可象一般自吸清水泵那樣不需要安裝底閥,又可吸排含有大顆粒固體塊、長纖維、沉淀物、廢礦雜質、糞便處理及一切工程污水物。可廣泛適用于市政排污工程、輕工、造紙、紡織、食品、化工、電業、石油、礦山和河塘養殖等行業。它是目前國內抽送固體顆粒、纖維、漿料和混合懸浮等介質最理想的雜質泵。 型號意義 ![]() 泵的安裝 泵安裝好壞對泵的運行和壽命有較大影響,所以必須仔細進行。(規范的泵管路安裝見示意圖) ![]()
1、泵吸入口的安裝高度盡量不要超過5米,應特別注意吸入管路的密封性,以免漏氣而影響泵的自吸能力和正常運行。 2、泵的出口處應先裝上一段垂管(一般為0.4~1米)和壓力表,然后再安裝出口流量控制閥門及其他管路。 3、要合理配置泵進、出口管路的長度和管徑,減少不必要的沿程水頭損失。(可參考直管摩擦損失簡表進行估算) 4、長距離輸送時應選用較大管徑。泵的管路應有自己的支架,泵體本身不允許承受管路的負荷。 5、排出管路如裝逆止閥應裝在出口流量控制閥門外面。 50ZW15-30耐腐蝕自吸排污泵 參數表
![]()
因產品生產批次、型號不同,產品圖片及安裝尺寸僅供參考,詳情可聯系我們的銷售人員了解更多50ZW15-30耐腐蝕自吸排污泵相關信息!
|
||||||||||||||||||||||||||||||||||||||||||||||||||||||||||||||||||||||||||||||||||||||||||||||||||||||||||||||||||||||||||||||||||||||||||||||||||||||||||||






















