ZCQ40-32-160化工自吸磁力驅動泵 |
||||||||||||||||||||||||||||||||||||||||||||||||||||||||||||||||||||||||||
|
|
||||||||||||||||||||||||||||||||||||||||||||||||||||||||||||||||||||||||||
![]()
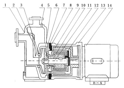
產品介紹 概述: ZCQ40-32-160化工自吸磁力驅動泵(以下簡稱自吸泵)是根據眾用戶的要求,在CQ型磁力泵的基礎上吸取國外技術,并經過工程技術人員反復研究試驗而成功的新產品。 該ZCQ40-32-160化工自吸磁力驅動泵以靜密封取代動密封,使泵的過流部件處于完全密封狀態,徹底解決了其它泵機械密封無法避免的跑、冒、滴、漏之弊病,泵體及過流部件的材料均采用了耐腐蝕的不銹鋼、鋼玉陶瓷、四氟石墨等材料制造,既有CQ型磁力驅動泵的功能,又集自吸于一身,不需底閥和引灌水,自吸高度4米。 ZCQ40-32-160化工自吸磁力驅動泵結構緊湊,外形美觀,體積小,噪音低,運行可靠,使用維修方便,可廣泛用于石油、化工、制藥、電鍍、印染、食品、科研等單位抽送酸、堿、油類及稀有貴重液、毒液、揮發性液體,以及循環水設備配套,特別是易漏、易燃、易爆液體的抽送。 因此,它是有廣泛的用途,我們真誠地向用戶推薦這種新產品。 型號意義: ![]() 結構圖: ![]()
工作原理: 本采用外混式軸向回水泵體結構,泵體由吸液室、儲液室、蝸殼、回流孔、氣液分離室等部份組成,結構見圖。泵啟動后,在離心力的作用下,吸水室中的剩余液與進液管路中的空氣被葉輪攪拌成氣水混合物,混合物經蝸殼進入氣液分離室,隨著速度減慢,導致氣水分離,空氣由泵出液口排出,液經回水孔返回泵內,經過多次循環,進液管道中的空氣被排凈,使泵內形成一定的真空度,達到自吸的作用。 ZCQ40-32-160化工自吸磁力驅動泵 參數表
因產品生產批次、型號不同,產品圖片及安裝尺寸僅供參考,詳情可聯系我們的銷售人員了解更多ZCQ40-32-160化工自吸磁力驅動泵相關信息!
|
||||||||||||||||||||||||||||||||||||||||||||||||||||||||||||||||||||||||||





















